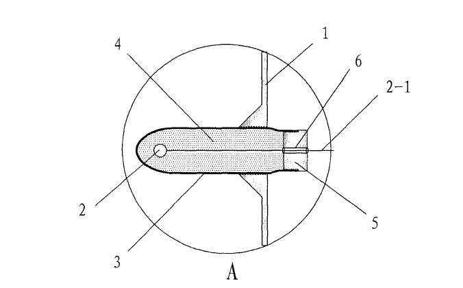
专利类型:实用新型 发 明 人:李文军、苏倩倩、魏家骏、张潇丹 专 利 号:201320356878.X 专利摘要:本实用新型公开了一种煤炭地下气化层温度测量装置,包括埋设于地下气化层中的热电偶和由热电偶引出的信号线,地下气化层中设置有注气通道,所述热电偶设置在一个封闭的金属管内,所述金属管连接一个设置在所述注气通道地面之下的安装底座,所述热电偶通过套上瓷珠在金属管内与金属管壁隔离,所述信号线从安装底座中引出。本实用新型的热电偶可以保持立置状态,施工方便,热电偶的工作端不容易被埋没在煤堆中提高了测温精度,热电偶的工作端不直接接触高温,故不容易毁损,延长了热电偶的使用寿命。利用了非燃烧层隔热的作用,可确保信号线始终不暴露在还原性的煤气当中,可使温度基本保持恒定,避免温度信号产生较大的飘逸,提高了测温精度。

|